Couronnes de direction à billes
Couronnes de direction à billes
166,28 €
Informations de prix
Prix catalogue254,13 €
Prix internet166,28 €
Prix TVA incluse (0.00% - United States)*
Numéro d'article : 404889.001
EAN : 4250269226000
EAN : 4250269226000
Immédiatement disponible
En stock: 66
Quantité
Payer directement avec Paypal :
*Tous les prix sont TTC et hors frais d'expédition. Le prix internet indiqué n'est valable que pour des commandes dans cette boutique en ligne. Nos employés ne peuvent pas vous accorder ces conditions par téléphone, par fax ou par e-mail.
Prix à la date du : 20.08.2024
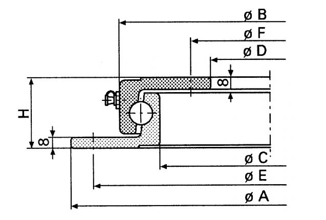
Numéro d'article
404889.001
Désignation
400L
Modèle _Type
Série L
Bille
14 mm
Charge axiale
0.75
A
400 mm
B
342 mm
C
292 mm
D
230 mm
F
375 mm
G
8 mm
E
375 mm
H
45 mm
EAN
4250269226000
Fabricant
Knott
Encombrants
Non
Poids
11 kg
Jost couronne de roulement à billes,
Série L
Caractéristiques :
- Sans trous, à percer soi-même avec une perceuse
- Facile à tourner à la main
Attention :
- Les couronnes de roulement à billes ne doivent pas être soudées !
- Remplir complètement de graisse avant la première utilisation
Applications :
- Chariots agricoles et véhicules de transport jusqu'à 30 km/h










